
近日同翔网,国家企业信用信息公示系统披露了一则重要司法执行信息。建新轮胎(福建)有限公司(以下简称“建新轮胎”)的一位自然人股东所持股权被福建省泉州市晋江市人民法院正式冻结。

千万股权突遭冻结
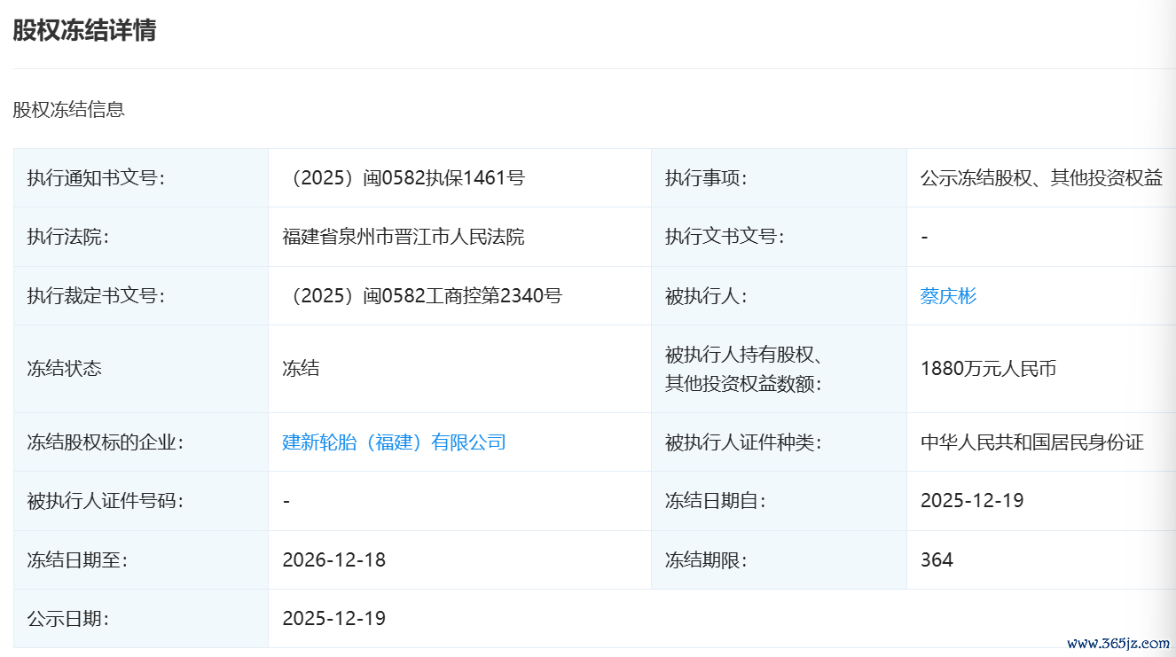
根据执行裁定书文号(2025)闽0582工商控第2340号显示同翔网,被执行人蔡庆彬持有的建新轮胎1880万元人民币股权被公示冻结。冻结期限自2025年12月19日起,至2026年12月18日止,为期364天。
查阅建新轮胎的股权结构发现,蔡庆彬为公司自然人股东,持股比例为10%。此次被冻结的股权数额恰好与其认缴及实缴出资额1880万元完全吻合。目前,该冻结状态已处于公示期。

年产300万套的福建省级重点项目同翔网
此次股权冻结事件的主角——建新轮胎,是福建省轮胎行业的重要企业之一。该公司成立于2010年,注册资本高达1.88亿元,坐落于永安市尼葛高新技术开发区,占地面积达40万平方米。

作为一家专注于研发、生产及销售全钢子午线轮胎系列产品及橡胶制品的企业,建新轮胎的全钢项目被列为福建省级重点项目。据公开资料,该公司具备年产全钢子午线卡客车轮胎300万套的生产能力,年产值预计可达60亿元,在国内同行业中位居前列。
公司主打产品涵盖“重载征服系列”、“多样全能系列”、“综合优化系列”等多个商品系列,致力于通过引进国内外先进设备和技术专家,打造标准化的轮胎生产基地。
尽管股东个人股权遭遇司法冻结给企业治理层面带来一定的不确定性,但建新轮胎此前一直强调“用心经营,不断创新”的理念。目前,公司尚未就此次股东股权冻结事件对外发布正式声明,市场各方正密切关注后续进展。
垒富优配提示:文章来自网络,不代表本站观点。